№12 декабрь 2025

Портал функционирует при финансовой поддержке Министерства цифрового развития, связи и массовых коммуникаций.


Вне конкурса. Модель ракеты в образе Спички (разработка проекта и создание летающей модели)









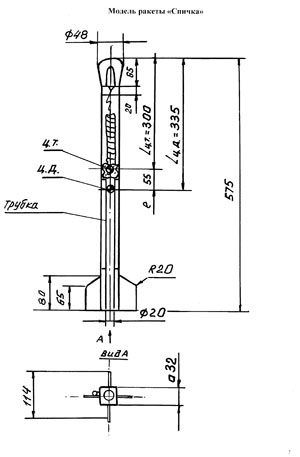
Модель ракеты «Спичка».
Модель ракеты «Спичка».

Расчет устойчивости модели ракеты «Спичка».
Расчет устойчивости модели ракеты «Спичка».

Оценить:

Рейтинг: 3.52


Наставник: Рыбин Александр Николаевич

Ученик: Федоров Илья (14 лет)

Город (село): г. Омск

Название колледжа: Бюджетное образовательное учреждение дополнительного образования детей «Омская областная станция юных техников»

Название изобретения или изделия: Модель ракеты в образе Спички (разработка проекта и создание летающей модели)

Краткая аннотация и перечень демонстрационного материала: модель ракеты «Спичка» изготовлена для участия в показательных выступлениях ракетомоделистов под девизом, «Летает всё». В перечень демонстрационного материала входят:

о Действующая модель ракеты;

о Чертежи;

о Фотография;

о Техническое описание конструкции;

о Расчёт на устойчивость модели-копии в полёте;

Перечень технических средств, используемых при защите: в дополнительных технических средствах при защите нет необходимости. Модель спроектирована и изготовлена для участия в показательных ракетомодельных полётах для привлечения школьников заниматься техническим творчеством.

Модель ракеты «Спичка» комплектуется двигателем МРД-20.

Продуман соответствующий дизайн.

Модель ракеты данной конструкции и наземное оборудование используемое для её запуска соответствует правилам проведения соревнований по ракетомодельному спорту издания 1993г.


Портал журнала «Наука и жизнь» использует файлы cookie и рекомендательные технологии. Продолжая пользоваться порталом, вы соглашаетесь с хранением и использованием порталом и партнёрскими сайтами файлов cookie и рекомендательных технологий на вашем устройстве. Подробнее